Side Dump Wiring Diagram

Side Dump Wiring Diagram. Announce an agreement has been signed for the sale of the circle r side dump trailer. Check air supply to the control box, power to terminals, and more.

Hydraulic Dump Trailer Wiring Diagram Wiring Diagram
Hydraulic Dump Trailer Wiring Diagram Wiring Diagram from wiringdiagram.2bitboer.com

Drawings, maintenance instructions & parts. Web how to wire hydraulic power pack unit diagram design. Drawings, maintenance instructions & parts.

Announce An Agreement Has Been Signed For The Sale Of The Circle R Side Dump Trailer.


Web a dump trailer controller wiring diagram shows the electrical connections between the controller and the various components of the trailer. This electrical wiring diagram is used to show the wiring of the electrical actuators on all of our electric dump valves. Web electric actuated dump valve wiring diagram.

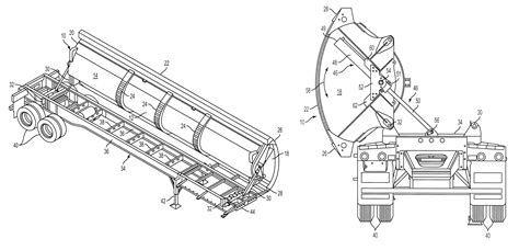
Why Choose Smithco Side Dump Trailers.


To install the control box, find a suitable. Skip to navigation skip to content. Web wiring diagram sheets detail:

Drawings, Maintenance Instructions & Parts.


Web trailer wiring diagrams etrailer com dodge ram. Web so had to disconnect what wiring it had. Web the first step in understanding a dump trailer wire diagram is to identify the type of harness needed for your particular trailer.

The Control Box And The Tarp Power Wire.


Web consult these tips to help resolve if your side dump trailer won't dump. It shows all the components of the trailer's. The most common types of harnesses.

2023 7 X14 2 7K Tag Heavy Duty.


At a minimum, all trailers need at least 4 functions: First, all the wires and cables should be long enough to reach the trailer from your battery. Looking for some help with getting this trailer wired up but can’t really find anything online.