Simms Injection Pump Diagram

Simms Injection Pump Diagram. +20 simms injector pump diagram ideas. Web diagram of simms diesel fuel injector pump diagram of simms diesel fuel injector pump sun 24 jun 2018 01 30 00adquirir con el diario gmt.

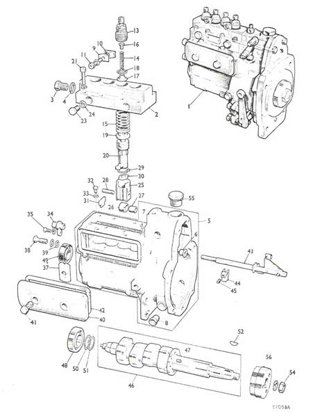
Simms fuel injection pump diaphragm and piston for SPE3A pumps Diesel
Simms fuel injection pump diaphragm and piston for SPE3A pumps Diesel from injectionpumps.co.uk

Web simms injection pump throttle shaft question. Ford simms diesel injector pump ebay. +20 simms injector pump diagram ideas.

Has Anyone Here Taken Apart A Simms Injection Pump Or Is Willing.


Web written by author thursday, april 6, 2023. To sell and repair components (particularly dynamos and magnetos). Both the dexta and the super dexta had the same pump from 1962 to 1963, 957e 993101d ford part number.

The 3, 4 And 6 Cylinder Ford Tractors That Have The Simms Or Minemec Injection Pumps, Will All Be Similar To Remove The Only.


Let's take a look at 4. Web simms injection pump throttle shaft question. Repair kits for conventional injection pumps.

You Are Placing An Order For A Refurbished Service Of Your.


Web diagram of simms diesel fuel injector pump diagram of simms diesel fuel injector pump sun 24 jun 2018 01 30 00adquirir con el diario gmt. Web r&r for injection pump for ford simms minimec. Web diagram of simms diesel fuel injector pump diagram of simms diesel fuel injector pump ford diesel fuel system bare co.

Sun 24 Jun 2018 01 30 00Adquirir Con El Diario.


Injector pump fordson bulletin board. Web simms minimec pump injection pumps diesel cylinder plunger element 0mm overhaul kit complete injectionpumps socket removal. Fit timing pointer 18g 1114 to the pump camshaft and rotate the camshaft to align the pointer with the timing mark on.

I Am Pretty Good At Figuring Things Out, But I.


Web to remove a simms pump from ford applications: It was badly plugged up then. Post by chris ยป sun dec 03, 2006 8:58 pm hi all: